QBY氣動隔膜泵產品概述
QBY氣動隔膜泵是一種新型的輸送機械,在中國是一種新型泵。
使用壓縮空氣作為動力,可以排出各種腐蝕性液體,帶顆粒的液體,高粘度,易揮發,易燃且劇毒的液體。
其性能參數類似于德意志聯邦共和國的WLLDENPVMPS和美國的MARIOWPUMPS。工廠現已形成一系列產品,共有八個規格和直徑:: 10mm3 / 8,¢ 15mm1 / 2,¢ 25mm1,,40mm11 / 2,¢ 50mm2
¢ 65mm21 / 2,¢ 80mm3, mm100mm4。
四種材料,鋁合金,鑄鐵,工程塑料,不銹鋼。
根據不同的液體介質,使用丁腈橡膠,氯丁橡膠,氟橡膠和聚四氟乙烯。
滿足不同用戶的需求。氣動隔膜泵已被石油,化學,電子和陶瓷紡織系統單元廣泛使用。它們被放置在特殊場合以泵送各種常規泵無法泵送的介質,并取得了令人滿意的效果。
QBY塑料氣動隔膜泵的主要特征
1、無需灌溉和引水,吸水高度z大為7m,揚程z大為50m,出口壓力≥6kgf/ cm2;
2、流量寬敞,通過性能良好,允許直徑z大為10mm的大顆粒。
泵送泥漿和雜質時,泵的磨損很小;
3、可以通過打開空氣閥無級調節水頭和流量,并且可以在1-7kgf / cm2;
4、之間調節氣壓。泵沒有旋轉部件,也沒有軸封。隔膜將泵送的介質與泵的運動部件和工作介質完全隔離,輸送的介質不會泄漏到外部。
因此,泵送有毒,易玩或腐蝕性介質時,不會造成環境污染和危害人身安全;
5、無需用電,在易燃易爆場所使用安全可靠;
6、可以浸入介質中工作;
7、功能便捷,工作可靠,只需打開和關閉燃氣閥即可啟動和停止,即使由于意外或突然停機而長時間沒有介質運行,泵也不會因此受到損壞,并且泵會自動超載。
接地關機,具有自我保護性能,當負載恢復正常時,它將自動開始運行;
8、結構簡單,易損件少。該泵結構簡單,易于安裝和維護。與其他類型的泵不同,由于轉子,活塞和齒輪的作用,由泵輸送的介質不會與閥,連桿等活動部件接觸。
葉片和其他零件的磨損,導致性能逐漸下降;
9、它可以輸送粘度低于10,000厘泊的更多粘性液體;
10、無需使用油潤滑,即使空轉也不會對泵產生任何影響,這是泵的主要特點。
QBY塑料氣動隔膜的主要用途泵
1、泵送花生醬,泡菜,土豆泥,小香腸,蘋果醬,巧克力等。
2、泵送油漆,膠和顏料。
3、所有類型的粘合劑和膠水均可泵送。
4、各種瓷磚,瓷器,磚頭和
陶釉漿。
5、鉆完油井后,泵送沉積物并注漿。
6、泵送各種乳液和填充劑。
7、泵送各種污水。
8、使用泵作為油輪和駁船清理倉庫并吸收倉庫中的污水。
9、啤酒花和發酵粉糖漿,糖漿,糖漿。
10、在礦山,隧道,隧道,選礦和礦渣中抽水。
泵水泥灌漿和砂漿。
11、各種橡膠膏。
12、各種研磨劑,腐蝕劑,油和泥,清潔油脂和普通容器。
13、各種劇毒,易燃和易揮發的液體。
14、各種強酸,強堿和強腐蝕性液體。
15、各種高溫液體均可承受150℃。
16、作為各種固液分離設備的前級壓力傳遞裝置。
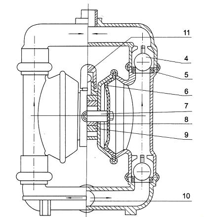
1 進氣口 2 配氣閥體 3 配氣閥 4 圓球 5 球座 6 隔膜 7 連桿 8 連桿銅套 9 中間支架 10 泵進口 11 排氣口
QBY塑料氣動隔膜泵性能參數表
Note:★-有 have /-無 without
Model 1
Dischage
(m3/h)
Head
(m)
Exit
Pressure
(kgf/cm2)
Sucked
lift
(m)
Max grain D
Max
Pressure
(kgf/cm2)
消耗量
Max air
consumption
(m3/min)
ZL104
1Cr18Ni9Ti
HT200
聚丙烯
Enhanced
Polypropy lene



